Tag: Nintendo Switch
-

NINTENDO POW BLOCK EPISODE 421: Preparing for a Big Year for Nintendo in 2025
This week on Nintendo Pow Block, Edward and Corey kick off the new year with a relaxed episode, diving into how Nintendo might evolve in 2025, if Xbox will bring more of their games to the Switch 2 as they continue their “This is an Xbox” campaign, the potential for third-party collaborations, and more.
-

VIDEO GAME BOOK CLUB: Life is Strange: Double Exposure Spoilercast and Review Discussion
This week on Boss Rush Video Game Book Club, Pat is joined by his new cohost, Taylor, and Boss Rush contributing writer Shane to discuss the newest entry in the Life is Strange series, Double Exposure, the long awaited yet controversial sequel.
-

Game Review: Super Spy Raccoon
Check out this retro arcade inspired stealth game where you are a super spy as well as a raccoon.
-

SPOTLIGHT SERIES INTERVIEW: James Montagna, WayForward Game Director of Yars Rising
This week, Corey Dirrig and Stephanie Klimov chatted with WayForward’s James Montagna, Game Director of Atari’s Yars: Rising, about the challenges of directing a sequel to a 42-year-old franchise.
-

Nintendo Levels Up: Switch Hardware Sales Surpasses PlayStation 2 in the U.S.
New data from Circana shows the Nintendo Switch smashing some new records today.
-

NINTENDO POW BLOCK EPISODE 420 – Looking Back, Looking Ahead, and Nintendo’s Bright Future
This week, Edward and Corey give their last episode of 2024 a relaxing tone, discussing the year, Microsoft’s This is an Xbox campaign, if Nintendo Switch 2 could handle Xbox games, a potential launch title, and more.
-

SPOTLIGHT SERIES INTERVIEW: Kyle Banks, Solo Developer of Farewell North
This week, Stephanie Klimov sits down with Kyle Banks, the solo developer of Farewell North, discussing solo game development, caffeine, and making his dream game.
-

Boss Rush Banter: Remasters and Remakes Are Great For The Industry and Newcomers
Remasters and remakes can often get bad names from gamers, but they are not that bad. In fact, they can greatly benefit newcomers.
-

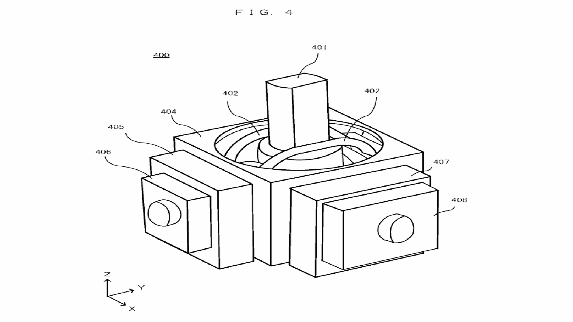
New Nintendo Patent Talks About Magnetorheological Fluid Technology
A new patent from Nintendo shows new joystick technology.
-

BOSS RUSH PODCAST EPISODE 254: Breaking Down the Nominees for the 2024 Bossies
This week on The Boss Rush Podcast, Stephanie, LeRon, Pat, and Corey sit down to hash out the nominations for The Bossies. Do you think they made the right choices? Let’s find out.
-

Boss Rush Banter: What Could be the Main Launch Title Nintendo Switch Successor?
With the announcement of the Nintendo Switch successor just around the corner, which major IP will have the honor of being its launch title?
-

DORONKO WANKO Tippy-Taps onto Switch in Spring 2025
Alongside DORONKO WANKO’s playful Pomeranian protagonist, unleash the rascal within as three new breeds are added to the mix of playable puppers.
-

NINTENDO POW BLOCK – Nintendo Pow Block 2025 Content Planes and Updates
This week on Nintendo Pow Block, Corey sits down to deliver some 2025 content updates, plans for the show, spinoff content, and for Boss Rush as a unit to attempt to be more consistent while providing quality to the listeners. The show will return with a new episode next week.
-

How to Defeat Null, the Final Boss in The Legend of Zelda: Echoes of Wisdom
This guide helps you navigate your way to defeating the final boss from The Legend of Zelda: Echoes of Wisdom, Null. Time to save Hyrule!
-

VIDEO GAME BOOK CLUB: Emio: The Smiling Man Spoilercast and Review Discussion
This month on Boss Rush Video Game Book Club, Pat is joined by Edward Varnell and special guest Celia Schilling of Yacht Club Games to talk about Nintendo’s surprise horror release Emio: The Smiling Man, part of the Famicom Detective Club series.
-

Boss Rush Banter: Echoes of Wisdom Proves the Zelda Timeline is Still Relevant
Echoes of Wisdom finally has a timeline placement, and this proves that even if it isn’t as important as fans would like, the timeline is still relevant.
-

How To Defeat Lanayru Temple Boss, Skorchill from Echoes of Wisdom
Lanayru Temple boss, Skorchill, switches it up with a fire and ice battle that reminds you of epic Zelda bosses of yesteryear.
-

Boss Rush Banter: Will the Impending Announcement of the Switch Successor Negate Holiday Sales for the Nintendo Switch?
Looking at Nintendo’s trend of hardware sales, will things continue to dip due to the anticipation of a “Switch 2” announcement this holiday season?
-

Donkey Kong Land 2 is Available Now on Nintendo Switch Online
Mere days after the first game was added, Donkey Kong Land 2 is added to Nintendo Switch Online’s Game Boy roster.
-

How to Defeat Faron Temple Boss, Gohma, from The Legend of Zelda: Echoes of Wisdom
Another classic Zelda boss, Gohma, appears in the Faron Temple in Echoes of Wisdom. Here are tips on taking the queen spider down!
-

BOSS RUSH PODCAST EPISODE 252: Its Time to Talk about Geoff Keighley’s Game Awards
This week on the Boss Rush Podcast, LeRon, Stephanie, and Pat are joined by Matthew Kiel and Just Taylor to discuss The Game Awards nominees and how they feel about the games chosen for each category.
-

GAME REVIEW: Tetris Forever Is a Must-Play, More than Just a Game
Tetris Forever returns to the classics with a collection that transcends traditional video games.
-

Donkey Kong Land is Now On Nintendo Switch Online
Nintendo has announced that Donkey Kong Land is being added to the Game Boy offerings on Nintendo Switch Online.
-

Boss Rush Banter: What Are Your Favorite Echoes from The Legend of Zelda: Echoes of Wisdom (Part 2)?
Welcome to Part 2 of listing our favorite Echoes from The Legend of Zelda: Echoes of Wisdom.
Top Stories
SUPPORT BOSS RUSH MEDIA
Patreon:
patreon.com/bossrushnetwork
YouTube:
youtube.com/bossrushnetwork
CEO, Cofounder: Corey Dirrig
BOSS RUSH MEDIA & THE BOSS RUSH NETWORK
Copyright © 2025 Boss Rush Media, The Boss Rush Network, and Boss Rush Media, LLC. All Rights Reserved.
The Boss Rush Network is a community-driven outlet focused on video games, entertainment, and more, producing podcasts like The Boss Rush Podcast and Nintendo Pow Block. Our mission is to create a positive space where people can share their passions and grow together in a meaningful, impactful way.
We are Boss Rush. Be You. Be More. Play Games. Be Better.
Copyright © 2025 Boss Rush Media, LLC
CONTACT BOSS RUSH NETWORK
Writing Opportunities:
contact@bossrush.net
Podcast and Media Opportunities: bossrushmedia.biz@gmail.com
Editor-in-Chief: David Lasby










